Ferrari патентует очень странный двигатель V12 для гибридных суперкаров - «Автоновости»
В электронной базе WIPO (Всемирная организация интеллектуальной собственности) всплыла любопытная конструкция гибридной силовой установки последовательного типа для серийных суперкаров Ferrari, в основе которой лежит невиданный прежде двигатель V12, состоящий из двух рядных «шестёрок» (каждая со своим коленвалом), объединённых общей системой смазки и общей системой выхлопа.
Ferrari пока не собирается расставаться со своим классическим 6,5-литровым атмосферным V12 F140, которым оснащает топовые переднемоторные модели, но думает о будущем и о том, как приспособить 12-цилиндровый двигатель к суперкарам с гибридной силовой установкой последовательного типа. Пока что у Ferrari есть только параллельные гибриды, в том числе флагманский суперкар Ferrari F80, их силовые установки довольно громоздкие, хотя бы уже потому, что в паре с ДВС должна работать коробка передач.
Последовательным гибридам коробка передач не нужна, ДВС здесь не имеет механической связи с колёсами, работает в режиме генератора и заряжает тяговую батарею — такая схема сегодня особенно широко распространена в Китае. Серийных суперкаров с гибридными силовыми установкам последовательного типа на данный момент не существует, несмотря на то, что такой тип силовой установки даёт большую свободу по части компоновки и может обеспечить очень хорошие экологические характеристика, а это важно для Европы — домашний рынок для Ferrari.
Нежелание производителей суперкаров возиться с последовательными гибридами понятно: покупатели ждут о суперкаров эмоций, взрывного роста мощности и эффектного звука выхлопа, а у последовательных гибридов этого нет, так как ДВС здесь работает в установившемся монотонном режиме. С разряженной батареей многие последовательные гибриды превращаются в «овощи» с большим расходом топлива, так как бортовой ДВС у них, как правило, небольшой и маломощный.


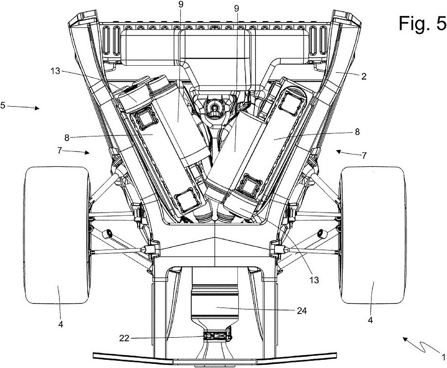
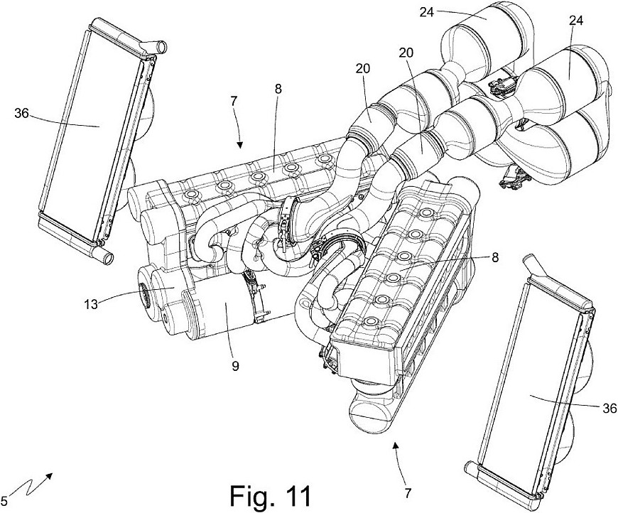
Ferrari хочет исправить все недостатки последовательных гибридов сразу и предлагает своё решение для среднемоторных суперкаров. Прежде всего, нужен очень мощный ДВС, который обеспечит хорошую динамику даже при разряженной батарее и с учётом всех потерь на преобразование энергии. Таким двигателем будет необычный V12, состоящий из двух рядных «шестёрок», которые образуют букву V при взгляде не с торца, а сверху.

Каждая рядная «шестёрка» имеет собственный коленвал и состыкована с собственным генератором для выработки электроэнергии, а объединяют две половинки двигателя общая система смазки, общая система выхлопа и общий блок управления. Расположение половинок двигателя в виде буквы V при взгляде сверху позволяет уменьшить габаритную длину 12-цилиндрового двигателя и вписать его узкое пространство между задними колёсами. На патентных картинках представлены несколько вариантов компоновки системы выхлопа и системы охлаждения.





Монотонный звук работы устранит электронный блок управления, который может регулировать обороты двух половинок 12-цилиндрового двигателя независимо друг от друга и даже имитировать смену ступеней несуществующей коробки передач (можно запрограммировать любое число ступеней). Подробное описание концепции есть в патенте на английском языке. В целом предложенная схема выглядит вполне рабочей — вопрос лишь в том, решится ли Ferrari реализовать её на практике.


Добавим, что над новыми ДВС работает и компания Porsche: в прошлом году она запатентовала целое семейство W-образных двигателей весьма необычной конструкции.

