Муху лучом бей: Tesla запатентовала лазерные дворники - «Tesla» » Все про авто
Анисим
Опубликовано: 09:35, 08 январь 2022
Новости

Муху лучом бей: Tesla запатентовала лазерные дворники - «Tesla»



Компания Tesla запатентовала систему очистки автомобильных стёкол с помощью лазерных импульсов, но вряд ли рискнёт внедрить её в серийное производство.


 

Tesla любит удивлять и делать многое не так, как другие: с её подачи возникла мода на гигантские мультимедийные экраны в салоне, она снабдила кроссовер Model X бессмысленными, но эффектными подъёмными задними дверьми, и внедрила невидимые дефлекторы обдува. Последний писк тесловской моды — это отказ от круглого руля в пользу штурвала, а также отказ от селектора режимов трансмиссии — мол, машина сама знает, куда вам нужно ехать, вперёд или назад, и когда включать режим «паркинг». Новая компактная модель Tesla может выйти на рынок вообще без руля, спорткару Roadster второго поколения Илон Маск пообещал ракетный ускоритель, а пикапу Cybertruck — бронебойный кузов из нержавеющей стали.


Ещё одна проблема, которая заботит главного инновационного предпринимателя планеты Земля — это неэффективные автомобильные дворники: они ухудшают аэродинамику кузова, тратят много энергии на трение и никогда не очищают стекло целиком. Отсутствие грязи на стёклах для Tesla очень важно, потому что за стёклами находятся камеры, отвечающие за работу автопилота, без которого компания не представляет своё будущее и будущее всего человечества.


Рисунок из патентной заявки Tesla на стеклоочиститель с электромагнитным приводом.

Прототип революционного пикапа Tesla Cybertruck был представлен вообще без дворников с обещанием внедрить очиститель с электромагнитным приводом, который будет с минимальным трением двигаться вдоль ветрового стекла и очищать всю его поверхность — заявка на это устройство была подана в патентное ведомство США два года назад. Примерно в то же время Tesla подала заявку на ещё более диковинный, лазерный стеклоочиститель, и на днях получила на него патент.

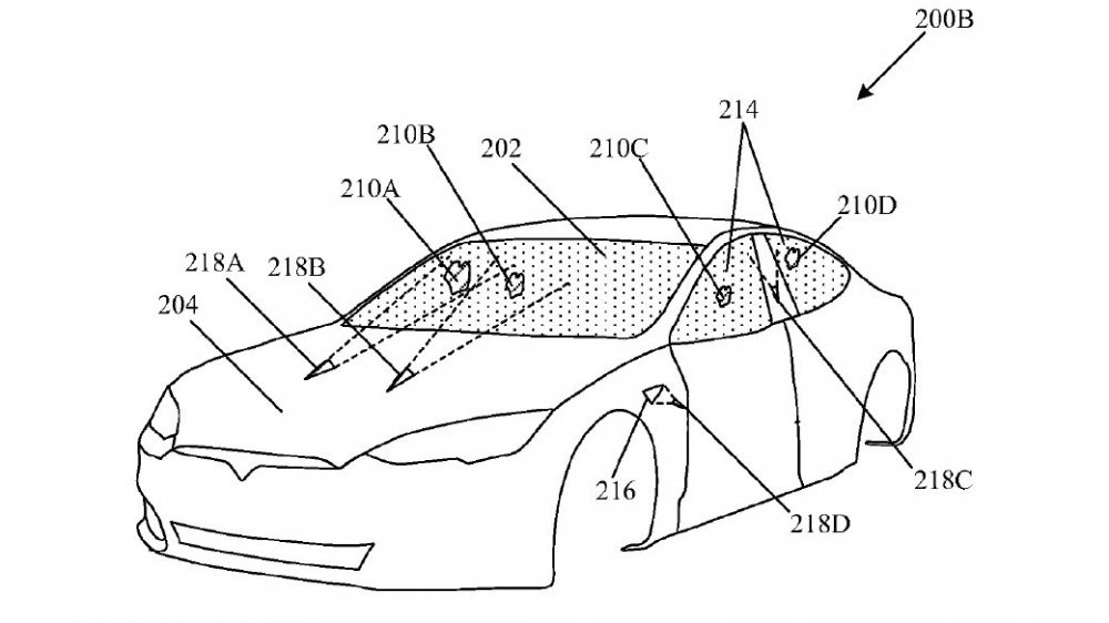
Рисунок из патентного свидетельства Tesla на лазерный стеклоочиститель.

Идея состоит в том, чтобы обнаруживать с помощь камер грязь и мусор на стёклах и истреблять с его с помощью лазерных импульсов из встроенных в поверхности кузова пушек. С помощью высокоточной оптики с электронным управлением луч будет фокусироваться строго на объекте удаления, не проникнет за границу стекла (то есть внутрь салона) и не причинит вред водителю и пассажирам. Такую же систему очистки поверхностей от грязи Tesla планирует применять для очистки домашних солнечных панелей (из-за грязи, пыли и мусора снижается их эффективность).

Получение патента ни к чему компанию Tesla не обязывает, она просто закрепила за собой очередное чудо-устройство, которое мы если и увидим на серийных электромобилях, то не в ближайшее время — сертифицировать и доказать безопасность лазеров на кузове будет довольно сложно, хотя, наверно, менее сложно, чем сертифицировать и доказать безопасность «полного автопилота», над которым Tesla неустанно работает и тратит на него огромные силы и средства, о чём рассказала в августе на мероприятии Tesla AI Day. Там же был анонсирован робот Tesla Bot, который должен избавить человечество от рутинного физического труда и прочей «бытовухи».

Добавим, что современные механические дворники с прерывистым режимом работы были изобретены американским учителем Робертом Кёрнсом в середине 60-х годов прошлого века. Его изобретение украла компания Ford, с которой Кёрнс потом много лет судился и добился справедливости. Эта история легла в основу сценария кинодрамы «Вспышка гениальности», вышедшей на экраны в 2008 году, роль Кёрнса в ней гениально сыграл актёр Грег Киннир.

Цитирование статьи, картинки - фото скриншот - Rambler News Service.
Иллюстрация к статье - Яндекс. Картинки.
Есть вопросы. Напишите нам.
Общие правила  поведения на сайте.

Компания Tesla запатентовала систему очистки автомобильных стёкол с помощью лазерных импульсов, но вряд ли рискнёт внедрить её в серийное производство. Tesla любит удивлять и делать многое не так, как другие: с её подачи возникла мода на гигантские мультимедийные экраны в салоне, она снабдила кроссовер Model X бессмысленными, но эффектными подъёмными задними дверьми, и внедрила невидимые дефлекторы обдува. Последний писк тесловской моды — это отказ от круглого руля в пользу штурвала, а также отказ от селектора режимов трансмиссии — мол, машина сама знает, куда вам нужно ехать, вперёд или назад, и когда включать режим «паркинг». Новая компактная модель Tesla может выйти на рынок вообще без руля, спорткару Roadster второго поколения Илон Маск пообещал ракетный ускоритель, а пикапу Cybertruck — бронебойный кузов из нержавеющей стали. Ещё одна проблема, которая заботит главного инновационного предпринимателя планеты Земля — это неэффективные автомобильные дворники: они ухудшают аэродинамику кузова, тратят много энергии на трение и никогда не очищают стекло целиком. Отсутствие грязи на стёклах для Tesla очень важно, потому что за стёклами находятся камеры, отвечающие за работу автопилота, без которого компания не представляет своё будущее и будущее всего человечества. Рисунок из патентной заявки Tesla на стеклоочиститель с электромагнитным приводом. Прототип революционного пикапа Tesla Cybertruck был представлен вообще без дворников с обещанием внедрить очиститель с электромагнитным приводом, который будет с минимальным трением двигаться вдоль ветрового стекла и очищать всю его поверхность — заявка на это устройство была подана в патентное ведомство США два года назад. Примерно в то же время Tesla подала заявку на ещё более диковинный, лазерный стеклоочиститель, и на днях получила на него патент. Рисунок из патентного свидетельства Tesla на лазерный стеклоочиститель. Идея состоит в том, чтобы обнаруживать с помощь камер грязь и мусор на стёклах и истреблять с его с помощью лазерных импульсов из встроенных в поверхности кузова пушек. С помощью высокоточной оптики с электронным управлением луч будет фокусироваться строго на объекте удаления, не проникнет за границу стекла (то есть внутрь салона) и не причинит вред водителю и пассажирам. Такую же систему очистки поверхностей от грязи Tesla планирует применять для очистки домашних солнечных панелей (из-за грязи, пыли и мусора снижается их эффективность). Получение патента ни к чему компанию Tesla не обязывает, она просто закрепила за собой очередное чудо-устройство, которое мы если и увидим на серийных электромобилях, то не в ближайшее время — сертифицировать и доказать безопасность лазеров на кузове будет довольно сложно, хотя, наверно, менее сложно, чем сертифицировать и доказать безопасность «полного автопилота», над которым Tesla неустанно работает и тратит на него огромные силы и средства, о чём рассказала в августе на мероприятии Tesla AI Day. Там же был анонсирован робот Tesla Bot, который должен избавить человечество от рутинного физического труда и прочей «бытовухи». Добавим, что современные механические дворники с прерывистым режимом работы были изобретены американским учителем Робертом Кёрнсом в середине 60-х годов прошлого века. Его изобретение украла компания Ford, с которой Кёрнс потом много лет судился и добился справедливости. Эта история легла в основу сценария кинодрамы «Вспышка гениальности», вышедшей на экраны в 2008 году, роль Кёрнса в ней гениально сыграл актёр Грег Киннир.
Заметили ошЫбку
Выделите текст и нажмите Ctrl+Enter
Обсудить (0)

Top.Mail.Ru